Toyota GR Super Sport hypercar may have a canopy-like door
KUALA LUMPUR: Toyota unveiled the GR Super Sport Concept car at the Tokyo Auto Salon in 2018. Since then, the automaker has been working towards converting the racing concept into a road-going model with an intent to compete in the new Le Mans hypercar class. So what should we expect when it comes? Well, it is difficult to say at this point of time. However, here comes a hint in a recent spate of patent applications that seems to be related to the concept, as reported by the forum GR86.
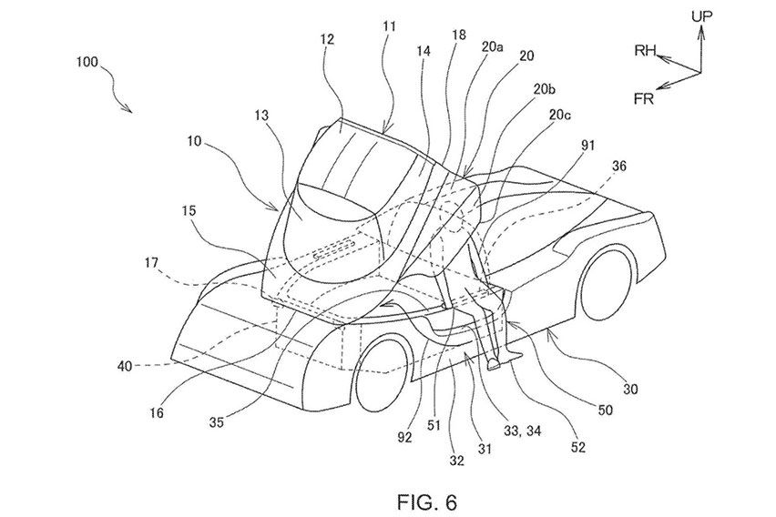
According to GR86.org, the Japanese automaker filed a patent for a canopy design at the United States Patent and Trademark Office, published August 20, 2020.

Although patent images are not revelatory as to the final shape as it shows the vehicle in a pictograph form. Still, the patent document shows a door latch mechanism for a canopy style door and roof mechanism, which means the hypercar won’t have any doors.
As per the patent filing, the production model of the GR Super Sport will have an unusual means of entry and exit. The canopy will open upwards and forwards and will equip latches to secure it in place. The levers are connected mechanically so that one transmits a force for operating to the other, so all of the latches are released simultaneously via the cables.

Such canopy seems extremely rare on street-legal cars because of their complexity and impracticality for passengers. It would be difficult for them to climb in and out in a suit gracefully. Plus, undercover parking would be an issue in the rainy season. Though, another patent is also there for the side sill of the car, which is believed to make entry and exit a little convenient.
The GR Super Sport road-going version is also expected to get a hybrid powertrain under the bonnet that delivers 1,000 hp of maximum power.

The automaker has not yet revealed any details about the debut of the model, but the new patent images suggest that the company is getting closer to that.
Also read: Toyota Thailand launches 2020 Yaris and Yaris Ativ facelift
Toyota Car Models
Malaysia Autoshow
Trending & Fresh Updates
- Latest
- Popular
You might also be interested in
- News
- Featured Stories
Toyota Featured Cars
- Latest
- Upcoming
- Popular
Latest Toyota Car Videos on Zigwheels